
Q: 11
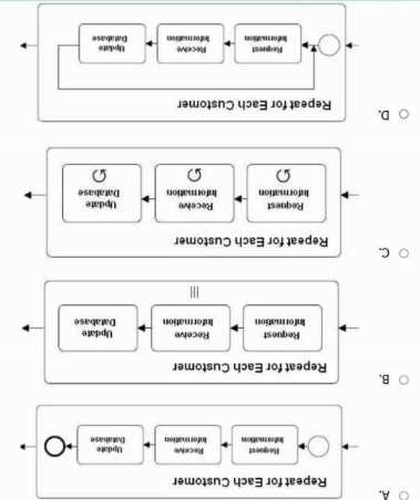
Which diagram models this situation: For each customer of the company,
execute the activities "Request Information", "Receive Information", and
"Update Database" in this order?


Options
Discussion
No comments yet. Be the first to comment.
Be respectful. No spam.
Q: 12
According to Chang in Business Process Management Systems, which is the
key enabler of Business Process Re-engineering (BPR)?
Options
Discussion
No comments yet. Be the first to comment.
Be respectful. No spam.
Q: 13
A process normally has steps A, B, C, and D. If step C is not completed within
3 days of the start of the process, immediately end the process with a failure
notification.
Which diagram describes this scenario?


Options
Discussion
No comments yet. Be the first to comment.
Be respectful. No spam.
Q: 14
In which order are activities C and D in this diagram executed?


Options
Discussion
No comments yet. Be the first to comment.
Be respectful. No spam.
Question 11 of 20 · Page 2 / 2