Arcitura C90.03
Q: 1
A company is planning to build and launch a new SaaS product that will be available for use by the
general public. It intends to build the service on-premise and then deploy it in a public cloud. The
company has the following set of four requirements for the implementation of the new service:
1. The cloud service needs to exchange messages primarily by using HTTP methods and other
features provided by HTTP.
2. The cloud service needs to store highly structured data with potentially complex relationships.
3. The cloud service needs to be deployed on a dedicated virtual server that can be administered
with a high level of control by the cloud consumer's own cloud resource administrator.
4. The cloud service needs to be deployed with a minimal amount of integration testing.
For this project, the company has a very limited budget. The company is assessing the IT resources
that are offered by Clouds X and Y within the constraints of its limited budget.
Cloud X can offer an IaaS environment with very few proprietary characteristics that includes a
database that supports only no relational storage, as well as support for the deployment and usage
of REST services.
Cloud Y can offer a PaaS environment with a pre-configured virtual server that includes native
support for WSDL and SOAP, as well as a database that supports only relational storage. The
implementation of a new service within Cloud Y will require compliance to a high level of proprietary
characteristics. As previously listed, the company has identified four specific implementation
requirements for its new cloud service. Which of the following statements correctly identifies how
many of the four requirements Clouds X and Y can directly fulfill?
Cloud Y can offer a PaaS environment with a pre-configured virtual server that includes native
support for WSDL and SOAP, as well as a database that supports only relational storage. The
implementation of a new service within Cloud Y will require compliance to a high level of proprietary
characteristics. As previously listed, the company has identified four specific implementation
requirements for its new cloud service. Which of the following statements correctly identifies how
many of the four requirements Clouds X and Y can directly fulfill?Options
Q: 2
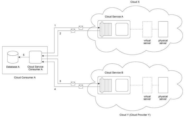
Cloud Service Consumer A accesses Cloud Service A (1) that resides in Cloud X. a private cloud owned
by the same organization acting as Cloud Consumer A . Cloud Service A processes the message from
Cloud Service Consumer A and then sends back a response with the requested data (2). Next, Cloud
Service Consumer A sends a message containing some of this data to Cloud Service B (3), which
resides in public Cloud Y that is owned by Cloud Provider Y. After processing the message, Cloud
Service B sends back a response with additional data to Cloud Service Consumer A (4). Finally, Cloud
Service Consumer A writes the data it collected from Cloud Services A and B to Database A (5).
Recently, Cloud Service Consumer A has been required to access Cloud Services A and B at a
significantly higher rate, sometimes over 1,000 times within a given workday. This increased usage
has not affected Cloud Service B's performance. Cloud Service A, however, has been generating
runtime exceptions and responses to Cloud Service Consumer A have become increasingly slow and
unreliable. It is determined that this decline in performance is due to infrastructure limitations within
private Cloud X’s environment. Instead of investing in new infrastructure for Cloud X, it is decided to
explore the feasibility of moving Cloud Service A to Cloud Y instead. Which of the following
statements describe valid financial considerations that can be taken into account for assessing the
feasibility of this move?
Recently, Cloud Service Consumer A has been required to access Cloud Services A and B at a
significantly higher rate, sometimes over 1,000 times within a given workday. This increased usage
has not affected Cloud Service B's performance. Cloud Service A, however, has been generating
runtime exceptions and responses to Cloud Service Consumer A have become increasingly slow and
unreliable. It is determined that this decline in performance is due to infrastructure limitations within
private Cloud X’s environment. Instead of investing in new infrastructure for Cloud X, it is decided to
explore the feasibility of moving Cloud Service A to Cloud Y instead. Which of the following
statements describe valid financial considerations that can be taken into account for assessing the
feasibility of this move?Options
Q: 3
Cloud Provider X has deployed a virtualization environment in Cloud X comprised of Physical Server A
hosting Virtual Servers A and B. Cloud Provider X implements Cloud Service A on Virtual Server A and
makes it available to Cloud Service Consumer A, which interacts with Cloud Service A by sending and
receiving messages (1, 2). Cloud Provider Y has deployed a virtualization environment comprised of
Physical Server B hosting Virtual Servers C and D. Virtual Server C is made available to Cloud Service
Consumer B, which interacts with Virtual Server C (3,4) in order to prepare for the deployment of a
new cloud service that will be used internally by Cloud Provider Y to process data obtained from
Cloud Service A .
Cloud X is administered by a group of organizations and makes Cloud Service A available only to
cloud service consumers from that group. Cloud Consumer Z belongs to one of the organizations
within this group. Cloud Y and Cloud Consumer Z are owned by the same organization. Which of the
following statements provides a valid scenario that accurately describes the involvement of cloud
deployment models, cloud delivery models, roles and/or boundaries? (Note that the correct answer
represents one of multiple valid scenarios that can exist.)
Cloud X is administered by a group of organizations and makes Cloud Service A available only to
cloud service consumers from that group. Cloud Consumer Z belongs to one of the organizations
within this group. Cloud Y and Cloud Consumer Z are owned by the same organization. Which of the
following statements provides a valid scenario that accurately describes the involvement of cloud
deployment models, cloud delivery models, roles and/or boundaries? (Note that the correct answer
represents one of multiple valid scenarios that can exist.)Options
Q: 4
Organization A has been expanding and, as a result, is outgrowing the processing capacity of its on-
premise Service A implementation. It is determined that this is due to usage thresholds of Service A
and complex data processing limitations in Database A . The diagram depicts Organization A's current
on-premise environment, where Service Consumers A . B and C attempt to access Service A at the
same time. Service Consumer A successfully accesses Service A, which then successfully retrieves the
requested data (1). Service Consumer B successfully accesses Service A, but due to the complex data
structure, the request for the data times out and fails (2). Finally, Service Consumer C attempts to
access Service A, but is rejected because Service A is unable to accept more concurrent requests.
Organization A is required to continue using its on-premise Service A implementation, with the
exception of Database A, which does not need to remain on-premise. Database A is dedicated to
Service A and is comprised of relational data. Which of the following statements provides a solution
that uses cloud-based IT resources to solve the performance limitations of Service A and Database A?
Organization A is required to continue using its on-premise Service A implementation, with the
exception of Database A, which does not need to remain on-premise. Database A is dedicated to
Service A and is comprised of relational data. Which of the following statements provides a solution
that uses cloud-based IT resources to solve the performance limitations of Service A and Database A?Options
Q: 5
Cloud Service Consumer A invokes Cloud Service A from Cloud X (owned by Cloud Provider X) (1). To
fulfill the request from Cloud Service Consumer A, Cloud Service A needs to invoke Cloud Service B
that resides on Cloud Y (owned by Cloud Provider Y) (2). After completing its processing, Cloud
Service B sends a response to Cloud Service A (3). Cloud Service A verifies the response and then
finally sends its response to Cloud Service Consumer A (4).
The guaranteed availability of the Cloud Service A implementation is 95% and the guaranteed
availability of the Cloud Service B implementation is 95%. Which of the following statements
accurately describes the actual availability that Cloud Service Consumer A can receive based on the
described scenario?
The guaranteed availability of the Cloud Service A implementation is 95% and the guaranteed
availability of the Cloud Service B implementation is 95%. Which of the following statements
accurately describes the actual availability that Cloud Service Consumer A can receive based on the
described scenario?Options
Q: 6
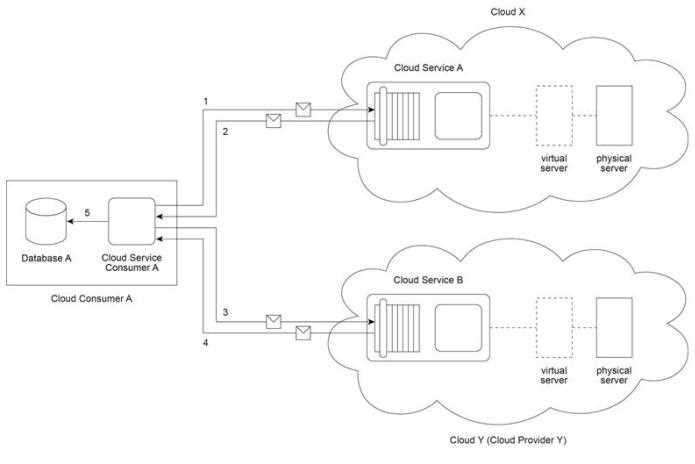
Cloud Service Consumer A accesses Cloud Service A (1) that resides in Cloud X. a private cloud owned
by the same organization acting as Cloud Consumer A . Cloud Service A processes the message from
Cloud Service Consumer A and then sends back a response with the requested data (2). Next, Cloud
Service Consumer A sends a message containing some of this data to Cloud Service B (3), which
resides in public Cloud Y that is owned by Cloud Provider Y. After processing the message. Cloud
Service B sends back a response with additional data to Cloud Service Consumer A (4). Finally, Cloud
Service Consumer A writes the data it collected from Cloud Services A and B to Database A (5).
Recently, Cloud Service Consumer A has been required to access Cloud Services A and B at a
significantly higher rate, sometimes over 1,000 times within a given workday. This increased usage
has not affected Cloud Service B' s performance. Cloud Service A, however, has been generating
runtime exceptions, and responses to Cloud Service Consumer A have become increasingly slow and
unreliable. It is determined that this decline in performance is due to infrastructure limitations within
private Cloud X' s environment. Instead of investing in new infrastructure for Cloud X, it is decided to
explore the feasibility of moving Cloud Service A to Cloud Y instead.
Which of the following statements describe valid financial considerations that can be taken into
account for assessing the feasibility of this move?
Which of the following statements describe valid financial considerations that can be taken into
account for assessing the feasibility of this move?Options
Q: 7
Cloud Service A is being made available on public Cloud X by Cloud Provider X via the SaaS delivery
model. Cloud Service A is hosted by Physical Server A that also hosts cloud services being used by
different cloud service consumers (and owned by different cloud service owners). Cloud Provider X
needs to make Cloud Service A available to a new group of cloud service consumers, but must do so
without the increase in usage volume affecting Cloud Service Consumers A and B .
Which of the following statements does not accurately describe a solution (or a set of solutions) that
addresses this requirement?
Which of the following statements does not accurately describe a solution (or a set of solutions) that
addresses this requirement?Options
Q: 8
A cloud consumer is interested in leasing cloud-based virtual servers. It compares the virtual servers
offered by Cloud Provider X and Cloud Provider Y. Cloud X (owned by Cloud Provider X) and Cloud Y
(owned by Cloud Provider Y) both provide shared physical servers that host multiple virtual servers
for other cloud consumers. The virtual servers on Cloud X are accessed directly, whereas the virtual
servers on Cloud Y are accessed via an automated scaling listener. On Cloud X, virtual servers are pre-
configured to support a specific amount of concurrent cloud service consumers. When this threshold
is exceeded, cloud service consumer requests are rejected. Due to the use of the automated scaling
listener, virtual servers on Cloud Y can provide a greater level of elasticity.
The hourly cost to the cloud consumer to use a virtual server on Cloud X is half that of the cost to use
a virtual server on Cloud Y. Within a one month period, Cloud Provider X bases its hourly charge on
the maximum number of virtual servers used. Within a one month period, Cloud Provider Y bases its
hourly charges on actual virtual server usage. Cloud Provider Y charges $20 for each hour that a
cloud consumer uses a virtual server. The cloud consumer predicts its monthly usage requirements
to be as follows:
Number Of Virtual Servers
Usage
3
20 Hours
4
30 Hours
5
50 Hours
The cloud consumer is required to choose the cloud provider with the lowest on-going cost, based on
its predicted usage. Which of the following statements accurately calculates the on-going usage costs
of Cloud Providers X and Y and correctly states the cloud provider that the cloud consumer must
choose?
The hourly cost to the cloud consumer to use a virtual server on Cloud X is half that of the cost to use
a virtual server on Cloud Y. Within a one month period, Cloud Provider X bases its hourly charge on
the maximum number of virtual servers used. Within a one month period, Cloud Provider Y bases its
hourly charges on actual virtual server usage. Cloud Provider Y charges $20 for each hour that a
cloud consumer uses a virtual server. The cloud consumer predicts its monthly usage requirements
to be as follows:
Number Of Virtual Servers
Usage
3
20 Hours
4
30 Hours
5
50 Hours
The cloud consumer is required to choose the cloud provider with the lowest on-going cost, based on
its predicted usage. Which of the following statements accurately calculates the on-going usage costs
of Cloud Providers X and Y and correctly states the cloud provider that the cloud consumer must
choose?Options
Q: 9
Cloud X (owned by Cloud Provider X) provides Physical Server A which hosts Virtual Servers A and B.
Virtual Server B hosts Ready-Made Environments A and B. Cloud Service Consumer A uses Virtual
Server A as part of an IaaS leasing agreement in which Cloud Consumer A is charged a fixed monthly
fee for unlimited access. Cloud Service Consumers B and C use Ready-Made Environments A and B
respectively as part of a PaaS leasing agreement based on per-minute usage fees. In both cases,
access is monitored via Pay-For-Use Monitor A, which keeps track of log-in and log-out times in order
to calculate the usage charges that are billed to Cloud Consumers B and C . Virtual Server A begins
generating a series of exceptions. Soon thereafter, Virtual Server B becomes destabilized, resulting in
further exceptions being raised in Ready-Made Environments A and B. Cloud Service Consumers B
and C receive a series of error messages until both of their connections are dropped Finally, Physical
Server A shuts down completely. A subsequent investigation reveals that Virtual Server A was the
victim of a security attack performed by a malicious cloud service consumer, the attacker generated
increased loads of external communication requests on Virtual Server A and the underlying network,
causing Physical Server A (along with Virtual Server B) to eventually shut down.
Which of the following statements accurately identifies the type of security threat that corresponds
to the described attack - and -provides a solution that can directly mitigate this type of security
threat within Cloud X?
Which of the following statements accurately identifies the type of security threat that corresponds
to the described attack - and -provides a solution that can directly mitigate this type of security
threat within Cloud X?Options
Q: 10
Cloud Provider X (which owns Cloud X) deploys two physical servers (Physical Servers A and B) and
two databases (Databases A and B). Virtual Servers A and B are hosted by Physical Server A and
Ready-Made Environments A and B are hosted by Virtual Server B . Virtual Servers C and D are
hosted by Physical Server B . Cloud Service Consumer A regularly accesses Virtual Server D in order
to test and deploy a new cloud service that was developed on-premise by the cloud consumer
organization operating Cloud Service Consumer A . Cloud Service Consumer B (operated by a
different cloud consumer organization) has been regularly accessing Ready-Made Environment A in
order to develop and deploy a different new cloud service.
Cloud X is a private cloud that, to-date, has been set up within the cloud provider company to
provision IT resources free of charge to internal cloud consumers, via PaaS and IaaS delivery models.
The cloud consumers that have been operating Cloud Service Consumers A and B represent different
IT departments within the company that have been working separately on the development of new
cloud services. Cloud Service Consumer A has been accessing Virtual Server D to make necessary
configurations and administration settings for the upcoming deployment of a new cloud service that
was previously developed outside of Cloud X. Cloud Service Consumer B has been accessing Ready-
Made Environment A to develop and now deploy a different new cloud service. Cloud Provider X
(which is represented by a separate IT department dedicated to governing and administering Cloud
X) determines that it will need to introduce three specific enhancements to Cloud X in order to
accommodate both upcoming cloud services. First, it needs to add a way to charge cloud consumers
for the usage of cloud services. Secondly, it needs to add a way for new cloud services to be
automatically scaled. Finally, it needs to add a way for a cloud consumer to be automatically notified
when a cloud service encounters runtime loads that exceed its allocated usage threshold. Which of
the following statements accurately describes a solution that fulfills all three identified
requirements?
Cloud X is a private cloud that, to-date, has been set up within the cloud provider company to
provision IT resources free of charge to internal cloud consumers, via PaaS and IaaS delivery models.
The cloud consumers that have been operating Cloud Service Consumers A and B represent different
IT departments within the company that have been working separately on the development of new
cloud services. Cloud Service Consumer A has been accessing Virtual Server D to make necessary
configurations and administration settings for the upcoming deployment of a new cloud service that
was previously developed outside of Cloud X. Cloud Service Consumer B has been accessing Ready-
Made Environment A to develop and now deploy a different new cloud service. Cloud Provider X
(which is represented by a separate IT department dedicated to governing and administering Cloud
X) determines that it will need to introduce three specific enhancements to Cloud X in order to
accommodate both upcoming cloud services. First, it needs to add a way to charge cloud consumers
for the usage of cloud services. Secondly, it needs to add a way for new cloud services to be
automatically scaled. Finally, it needs to add a way for a cloud consumer to be automatically notified
when a cloud service encounters runtime loads that exceed its allocated usage threshold. Which of
the following statements accurately describes a solution that fulfills all three identified
requirements?Options
Question 1 of 10